Запасные части ЧТЗ Запасные части ЧТЗ
Алдан
Например:
Актобе
Алдан
или
Выбрать автоматически
Актобе
Алдан
Алматы
Алчевск
Архангельск
Астана
Астрахань
Атырау
Баку
Балашиха
Барнаул
Белгород
Бердянск
Бишкек
Владивосток
Владикавказ
Воркута
Воронеж
Горловка
Грозный
Донецк
Екатеринбург
Иваново
Ижевск
Иркутск
Казань
Калининград
Каменск-Уральский
Караганда
Каховка
Кемерово
Киров
Комсомольск-на-Амуре
Костанай
Краснодар
Красноярск
Красный луч
Ленск
Луганск
Магадан
Магнитогорск
Макеевка
Махачкала
Мелитополь
Минск
Мирный (Якутия)
Москва
Мурманск
Нерюнгри
Нижневартовск
Нижний Новгород
Нижний Тагил
Новая каховка
Новокузнецк
Новосибирск
Новый Уренгой
Норильск
Ноябрьск
Нур-Султан
Омск
Оренбург
Ош
Павлодар
Пермь
Петрозаводск
Петропавловск
Петропавловск-Камчатский
Псков
Ростов-на-Дону
Салехард
Самара
Санкт-Петербург
Саратов
Севастополь
Семей
Симферополь
Сочи
Ставрополь
Сургут
Сыктывкар
Тараз
Ташкент
Токмак
Томск
Тында
Тюмень
Ульяновск
Усинск
Усть-Каменогорск
Уфа
Хабаровск
Ханты-Мансийск
Херсон
Челябинск
Чита
Шымкент
Экибастуз
Энергодар
Южно-Сахалинск
Якутск
Ваш город
Алдан
Войти
Запасные части к тракторам на одном сайте
+7 (932) 303-00-10
+7 (932) 303-00-10
г. Алдан, ул. Тарабукина, д. 36В
Пн-Пт: 9:30-18:30 Cб-Вс: Выходной
Отправить заявку


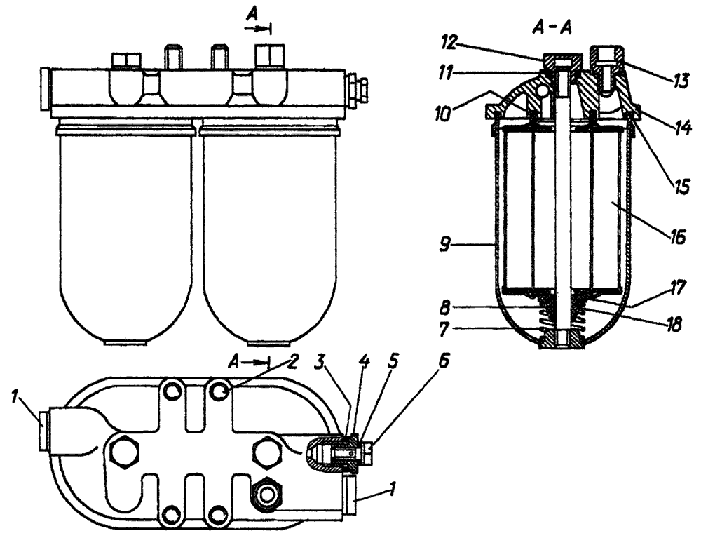
Фильтр топливный тонкой очистки на Т10М / Б10М


/
с НДС 20%
Описание
Топливный фильтр тонкой очистки на Т10М
# Номер запчасти Наименование детали Кол-во в сборке
- 51-70-137СП Фильтр топливный тонкой очистки 1
1 700-41-3703 Штуцер переходной 2
2 3329-52Б Шпилька 4
3 355-08 Кольцо 18x24 1
4 700-41-3808 Штуцер переходной 1
5 40938 Кольцо 1
6 700-37-2291 Пробка 1
7 329-33-2 Пружина 2
8 329-23-1 Кольцо 2
9 сб329-08-6 Стакан фильтра 2
10 748-99-566 Кольцо 2
11 329-30 Прокладка 2
12 329-29 Гайка 2
13 700-41-3709 Штуцер 1
14 51-70-143СП Крышка 1
15 329-28-2 Прокладка 2
16 51-70-146СП Элемент фильтрующий 2
17 329-67 Кольцо 2
18 329-22-1 Тарелка сальника 2
Фильтр топливный тонкой очистки